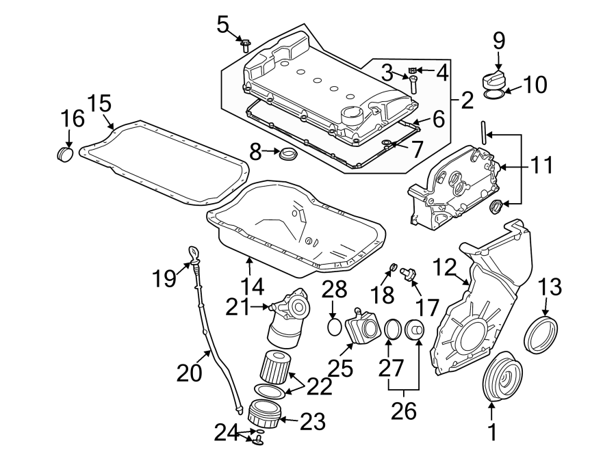
Tube 022-115-629-K
022-115-629-K
|
022115629k
•
022-115-629-k
•
022115629K
Alternative names:
zxc
,
asd
0
Available Now
3
Original Parts
0
Used Parts
Available in Stores
Www.leithvwcary.com
Auto parts supplier • 1 sellers
0 available
1 original
| Seller | Product Name | Description | Price | Action |
|---|---|---|---|---|
|
Leith Volkswagen
Original Part
|
Tube
|
2.8L, with 24 valve engine. 2003-05.
|
Price unavailable |
Auto parts supplier • 2 sellers
0 available
2 original
| Seller | Product Name | Description | Price | Action |
|---|---|---|---|---|
|
Volkswagen
Original Part
|
Tube
|
— | Price unavailable | |
|
Capitol Volkswagen
Original Part
|
Tube
|
— | Price unavailable |
Vehicle Fitment
Check compatibility with your vehicle
| Year | Make | Model | Body & Trim | Engine | Action |
|---|---|---|---|---|---|
| 2005 | Volkswagen | Golf | GTI VR6 | 2.8L V6 - Gas | |
| 2004 | Volkswagen | Golf | GTI VR6 | 2.8L V6 - Gas | |
| 2004 | Volkswagen | Jetta | GLI | 2.8L V6 - Gas | |
| 2003 | Volkswagen | Golf | GTI VR6 | 2.8L V6 - Gas | |
| 2003 | Volkswagen | Jetta | GLI | 2.8L V6 - Gas | |
| 2003 | Volkswagen | Jetta | GLX | 2.8L V6 - Gas | |
| 2002 | Volkswagen | Jetta | GLI | 2.8L V6 - Gas | |
| 2002 | Volkswagen | Jetta | GLS | 2.8L V6 - Gas | |
| 2002 | Volkswagen | Jetta | GLX | 2.8L V6 - Gas | |
|
Show more (4)
▼
|
|||||
Found an Error?
Help us improve! If you've spotted an error on the site or in the data, let us know and we'll fix it as soon as possible.